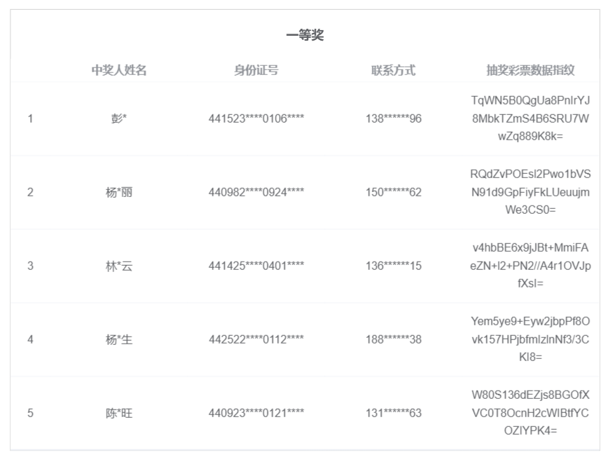
“百万好礼迎40”活动第五期抽奖名单公布

发布时间: 2020-09-21
来源: 深圳市福利彩票发行中心
编辑: dxl.scb.smzj
分享:
打印
W020200921413816730508.png
附件:

扫描二维码关注

福彩服务号

扫描二维码下载

福彩APP

扫描二维码

关注福彩

服务号

扫描二维码

下载福彩

APP

扫描二维码

下载i深圳

APP